ПН - ПТ с 09:30 - 18:00; Суббота и Воскресенье - Выходные дни!

ПН - ПТ с 09:30 - 18:00; Суббота и Воскресенье - Выходные дни!

Официальный интернет-магазин
производителя

8 (812) 565-48-90

Напишите нам
сообщение:
 

Поиск по автомобилю:

10301 Усиленная Защита картера Двигателя. 3 мм, Сталь.

5500 o 4950 o

Артикул 10301

На складе:
• В наличии

Количество

Заказ в 1 клик
Нашли дешевле?
Подходит для следующих авто:
  • Chrysler 300 C 2004-2007
  • Dodge Magnum 2004-2007
Описание товара
  • Материал : 3 мм, Сталь
  • Производитель : MOTODOR
  • Защита для : Двигатель
  • Старая цена : 5500
  • Кузов : Седан, универсал
  • Тип КПП : АКПП
  • Тип двигателя : Бензиновый
  • Привод : на задние колеса
  • Объем двигателя : 2.7
  • Особенности : люк для замены фильтра
  • Вес полного комплекта : 6,82
  • Габариты : 554х580
  • Стоимость установки : 900 руб.
Автомобиль без защиты:
Автомобиль с защитой:
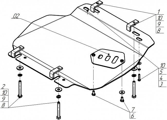
Порядок установки:
1. Соосно с отверстиями в поперечной балке у становить ПЗ 61х20х6 А40 М10 и наживить Болты М10х80 с Шайбами и Гр. Шайбами 10.
2. Закрепить к подрамнику радиатора передние точки защиты, используя ПЗ 56х20х6, Болты М10х80 с Шайбами и Гр. Шайбами 10.

Крепеж входит в комплект поставки

Шайба кузов. DIN 9021 M 10 *200* 6 шт.
Шайба Гровера DIN 127 В M10, средняя серия 4 шт.
ПЗ 56х20х6 А30 М10 2 шт.
Болт DIN 933 – 8.8 08x010 2 шт.
Шайба кузов. DIN 9021 M 06 2 шт.
Болт DIN 933 – 8.8 06x030 2 шт.
ПЗ 61х20х6 А40 М10 2 шт.
Болт DIN 933 – 8.8 10x080 4 шт.
Шайба Гровера DIN 127 В M06, средняя серия 2 шт.

Оформляя покупку в нашем интернет-магазине, Вы можете воспользоваться услугой доставки товара. Для этого, при оформлении заказа нужно выбрать один из способов получения товара. Вариант доставки согласуется с покупателем. Получив заказ, наш менеджер свяжется с Вами в течение ближайшего времени с тем, чтобы оговорить сроки, время и адрес доставки.

Условия доставки:
1. Нужно назвать точный адрес и Ваш номер телефона, по которому должен быть доставлен Заказ;
2. При получении заказа необходимо проверить товар на отсутствие внешних повреждений и дефектов и наличие всех комплектующих;
3. Оплата осуществляется только в рублях;
4. Доставка товара по Москве в настоящее время не производится

Варианты доставки товара:

·        Доставка курьерской службой по Санкт-Петербургу.

Осуществляется в пределах КАД(с одной стороны города) и ЗСД(с другой стороны города).При оформлении покупки в дни с понедельника по четверг до 18.00 часов мы доставим товар на следующий день с 10 до 18 часов. Время доставки оговаривается заранее;
При оформлении заказа в пятницу товар будет доставлен в понедельник.
Доставка "День в день" осуществляется при формировании заказа по будним дням до 11.30.
По субботам, воскресеньям и праздничным дням, доставка не производится.
Стоимость услуги доставки – 500 рублей, а при заказе от 8000 руб. - бесплатно. 

·        Доставка курьерской службой по Москве.

Осуществляется в пределах МКАД.При оформлении покупки в дни с понедельника по четверг до 18.00 часов мы доставим товар на следующий день с 10 до 18 часов. Время доставки оговаривается заранее;
При оформлении заказа в пятницу товар будет доставлен в понедельник.
По воскресеньям и праздничным дням заказы не принимаются, доставка не производится.
Стоимость услуги доставки – 500 рублей. 


·        Самовывоз со склада одного из офисов компании в Санкт-Петербурге и Москве.

Оплата заказа производится в офисе. Также мы оказываем услуги по установке нашей продукции в профессиональном установочном центре по адресу ул. Кондратенко 3Б (г. Санкт-Петербург);


·        Доставка в другие города.

Мы осуществляем доставку во все регионы РФ посредством транспортных компаний. Наша компания сотрудничает с лучшими ТК, но окончательный выбор транспортного посредника остается за вами.

Стоимость услуги определяется габаритами груза и пунктом назначения. Менеджер нашей компании свяжется с Вами для уточнения деталей и расчета стоимости доставки в другой город. Оплата услуги по доставке в этом случае производится сотруднику компании-перевозчика при получении груза. Товар отгружается в транспортную компанию по 100% предоплате его стоимости. Доставка до склада транспортной компании в Санкт-Петербурге осуществляется БЕСПЛАТНО.

Перечень услуг

 

 

Прайс-лист на установку комплектующих

Вид услуг Стоимость
Снятие пыльника/старой защиты 300 руб.
Установка защиты картера (легковой автомобиль) 800 руб.
Установка защиты картера (кроссовер/внедорожник) 800 руб.
Установка защиты картера (микроавтобусы) 800 руб.
Установка защиты картера 2,3,4 листы в комплекте 700 руб.
Установка защиты заднего бампера 800 руб.
Установка защиты бензобака 800 руб.
Установка защиты дифференциала 800 руб.
Установка ТСУ (фаркопа) без подключения электрики 3000 руб.
Установка ТСУ (фаркопа) с подключением стандартной электрики 4500 руб.
Установка ТСУ (фаркопа) с подключением электрики + smart connect 5000 руб.
Подключение стандартной электрики без установки ТСУ (фаркопа) 2000 руб.
Подключение электрики + smart connect без установки ТСУ (фаркопа) 3000 руб.
Установка брызговиков (2 шт) 1500 руб.
Установка сетки в бампер АКЦИЯ (цена фиксирована на любой автомобиль) 4700 руб.

Компания MOTODOR оказывает услуги по установке комплектующих на автомобили различных марок. Наши специалисты обладают обширным опытом в данной сфере, поэтому все работы выполняются качественно и в короткие сроки.

Мы занимаемся установкой следующих комплектующих:

  • защита картера — данный элемент предохраняет двигатель от попадания влаги, пыли, грязи, посторонних предметов снизу автомобиля.
  • фаркоп — позволяет присоединять к автомобилю прицеп или брать на буксир другие ТСУ (установка должна соответствовать всем необходимым нормам, так как данная деталь подвергается высоким нагрузкам во время эксплуатации);
  • брызговики — предназначены для предотвращения вылетания из-под колес автомобиля брызг, снега, щебенки;
  • сетка в бампер — позволяет защитить внутренние части машины от попадания мелких камней и мусора, вылетающих из-под колес во время движения;

В зависимости от марки и модели машины, ее особенностей процесс монтажа дополнительного оборудования может длиться от одного до нескольких часов.


Оплата в офисе компании в Санкт-Петербурге возможна наличными и картой.
 
Дистанционная оплата осуществляется либо переводом денег на корпоративную карту Компании по присланным реквизитам, либо оплатой выставленного счёта.
Интернет-магазин осуществляет дистанционные продажи за безналичный расчёт только по 100% предоплате. Обращаем Ваше внимание, что выставленный счет действителен в течение 3 (трех) банковских дней.